
圣邦微电子推出 SGM6000,一款 1.75V 至 5.5V 输入,静态电流 300nA,输出电流 700mA 的同步降压转换器。该器件可应用于便携式消费产品、可穿戴设备、耳机/耳塞、超低功耗物联网(窄带物联网和/蓝牙)、单节锂离子/纽扣电池产品,及有线或无线工业产品。
SGM6000 系列是一款低压、高效的微型同步降压转换器,专为电池供电场景设计。芯片在 1.75V~5.5V 的输入电压范围内仍能保持仅 300nA 的超低静态电流,关断电流更是低至 6nA,可显著延长系统待机时间;同时,它支持最高 700mA 的负载电流,峰值效率可达 96%,即使在 10μA 轻载条件下效率仍高于 88%,确保电池能量被充分利用。
器件提供灵活的输出电压方案:SGM6000A 通过 VSET 引脚可在 0.7V 至 3.3V 之间任意设定,而 SGM6000B 则内部固定 0.6V、0.8V、1.2V 或 1.8V 四档常用电平,方便客户根据主芯片需求直接选用。芯片内置多种保护机制,并带有主动放电功能,可快速释放输出电容能量;同时最大限度地减少外部元件数量,仅需两个贴片电容和一个电感即可工作,方案占板面积仅 27.4mm²。

图 1 SGM6000 典型应用电路

图 2 SGM6000 方案示意图
SGM6000 采用符合环保理念的 WLCSP-1.31×0.89-6B 绿色微型封装,特别适合 TWS 耳机、智能手环、医疗传感器等对体积和续航极度敏感的空间受限应用。

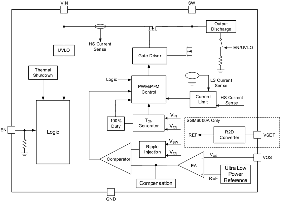
图 3 SGM6000 功能框图
关于圣邦微电子
圣邦微电子(北京)股份有限公司(股票代码 300661)作为高性能、高品质综合性模拟和模数混合信号集成电路供应商,产品覆盖信号链和电源管理两大领域,目前拥有 36 大类 6600 余款可销售型号,为工业与能源、汽车、网络与计算和消费电子等领域提供各类模拟及混合信号调理和电源管理创新解决方案。
来源:圣邦微电子