
产品概述
在智能家电和便携设备领域,随着对极致视觉体验的不断追求,力芯微推出全新16×9恒流LED矩阵驱动芯片ET61092。该产品具备精准电流控制、高效通信、智能保护系统和低功耗设计等多项亮点,可广泛应用于智能家电、各类便携设备及玩具等场景,为各种显示需求提供高效解决方案。
ET61092支持2.7~5.5V宽输入电压,提供16路恒流输出,可驱动最大16×9(144个LED)点阵,通过选接外部电阻能够灵活调节最大输出电流。芯片提供64档的全局电流调节,和单点256档的辉度微调,能够精准匹配多样LED负载,实现平滑渐变与动态显示效果,极大提升用户视觉体验。
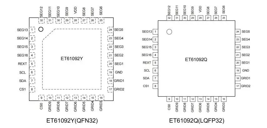
ET61092采用两线串行通信接口,通信速率最大支持1MHz,具备连续写入功能,提供4个片选地址,便于多芯片协同工作。其内部集成睡眠、过温保护、软件复位等多种功能,有效保证系统运行稳定、延长LED寿命。提供QFN32(5×5mm)和LQFP32(7×7mm)两种封装,灵活适应不同尺寸的设计需求。
产品特性
工作电压范围2.7~5.5V
最大支持16×9点阵(共144个LED)
16路恒流驱动,最大输出电流30mA(使用内部电阻)
利用外接电阻,可灵活调节最大输出电流
全局电流支持64档调节
单点支持256档辉度微调
两线串行通信接口,最大支持1MHz通讯速率,提供4个片选地址
消隐功能
睡眠模式
过温保护
软件复位
提供QFN32(5×5mm)和LQFP32(7×7mm)两种封装
管脚定义

典型应用

来源:力芯微电子