
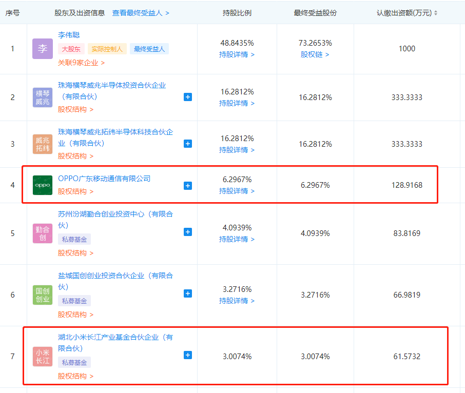
近日,深圳市威兆半导体有限公司发生工商变更,新增小米关联企业湖北小米长江产业基金合伙企业(有限合伙)为股东。认缴出资额61.57万元,持股比例约3%。
同时,威兆半导体注册资本从约1986万人民币变更为约2047万人民币。
此次融资将继续加快威兆半导体在高频、高可靠性、大功率等严重“卡脖子”紧缺市场的研发和市场布局。
值得注意的是,股东榜上,OPPO也在列,认缴出资额128.91万元,持股比例约为6.29%。

据工信部中小企业局近日公布的《关于第三批专精特新“小巨人”企业名单的公示》,威兆半导体被认定为国家级专精特新“小巨人”企业。
资料显示,威兆半导体成立于2012年12月,公司聚焦功率MOSFET、IGBT产品研发和应用研究,产品广泛应用于消费电子、通讯、电动车、工业控制等领域。凭借完善的研发布局、技术支持、质量控制体系等,威兆半导体赢得了超过10家全球500强终端品牌及数百家核心ODM/OEM厂商的认证供应商资格。
文稿来源:拓墣产业研究整理